The Microsoft Surface phone will feature the entire Windows system integrated into a tablet-esque form factor which makes for an excellent bridge between the Surface Pro’s and the current day smartphones.
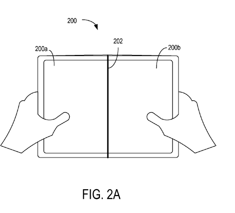
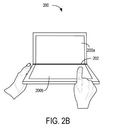
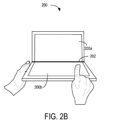
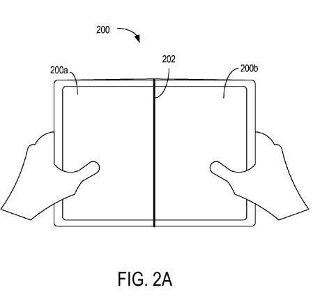
Very little details have been revealed about the upcoming device, but it is said to have a fold-able design, Of course it may not be the OLED based physical bending of the display screen itself, but the concept is very cool.
This fold-able smartphone design is actually quite the spectacular thing, if implemented correctly, and the patented design may be a step towards a portable, and convenient smartphone/mini tablet which has full-scale Windows integrated.
No news of when the foldable Microsoft smartphone will be out, or even if it’s in production but the patent shows that Microsoft may actually be working on such a device.







